Check out the technology we are working on this semester here:
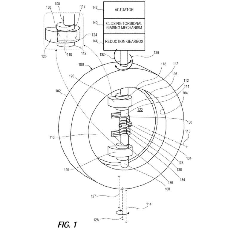
Brief Description: A cryogenic cam butterfly valve has a body that includes an axially extending fluid conduit formed there through. A disc lug is connected to a back side of a valve disc and has a circular bore that receives and is larger than a cam of a cam shaft. The valve disc is rotatable for a quarter turn within the body about a lug axis that is offset from the shaft axis.
Posted 1/2/18
